
微软新专利曝光:可移动触觉马达
2024-12-28 20:34:05
60
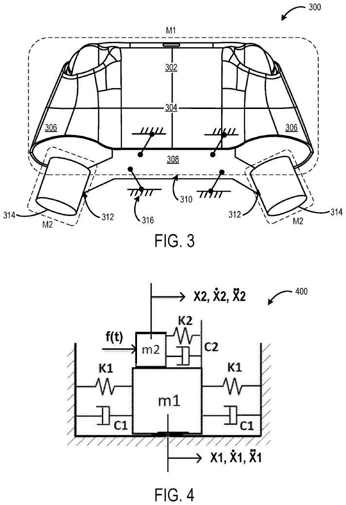
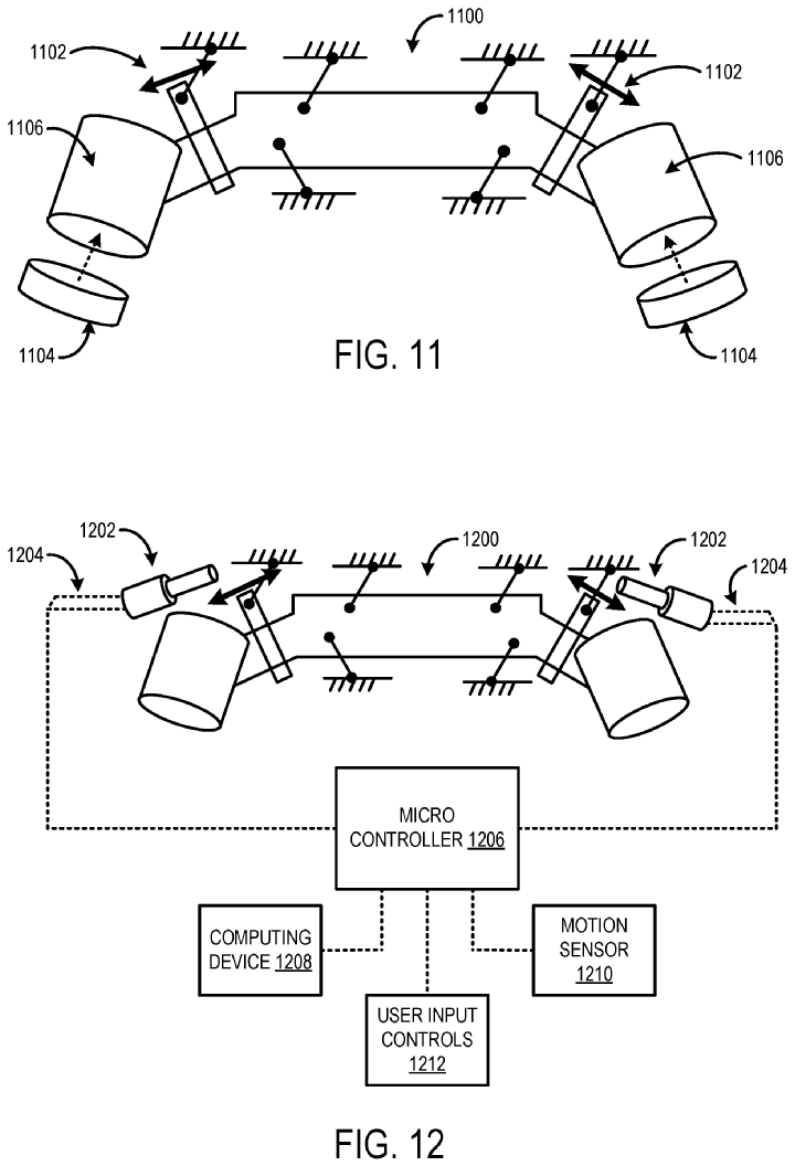
【微软新专利曝光:可移动触觉马达】微软近日公布了一项全新专利:可移动触觉马达。这种创新设计打破了传统手柄震动马达的固定模式,允许马达在手柄内部自由移动,从而提供更真实、更多样化的震动反馈效果。专利中提到,这种设计不仅成本更低,体积更小,还能实现更高效的能量利用。可移动马达可产生双共振峰,能够模拟不同类型的震动,进一步增强玩家的沉浸感。此外,玩家还可以通过手柄调节器实时优化震动反馈,打造更个性化的游戏体验。这项技术未来可能应用于全新一代Xbox手柄,甚至成为微软掌机的重要组件,为玩家提供革命性的互动体验。
预览
预览
预览
预览
扫码阅读
打开二柄APP浏览本文真玩家,都在这里


