
卡关不再怕!PlayStation专利显示AI未来或可代玩家过关
2026-01-06 20:35:00
86
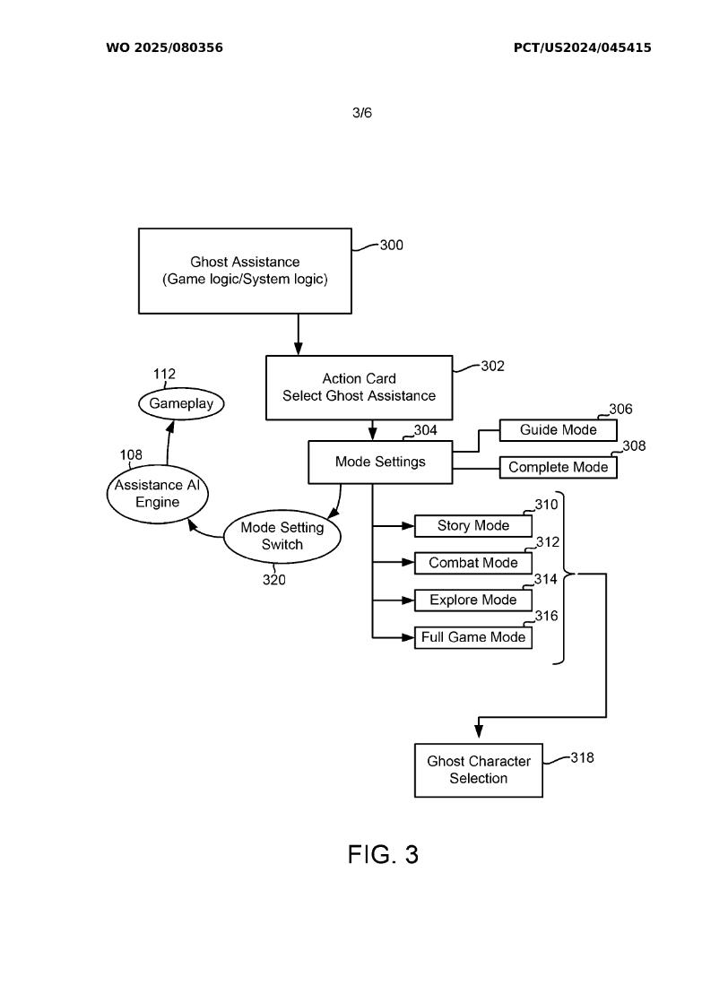
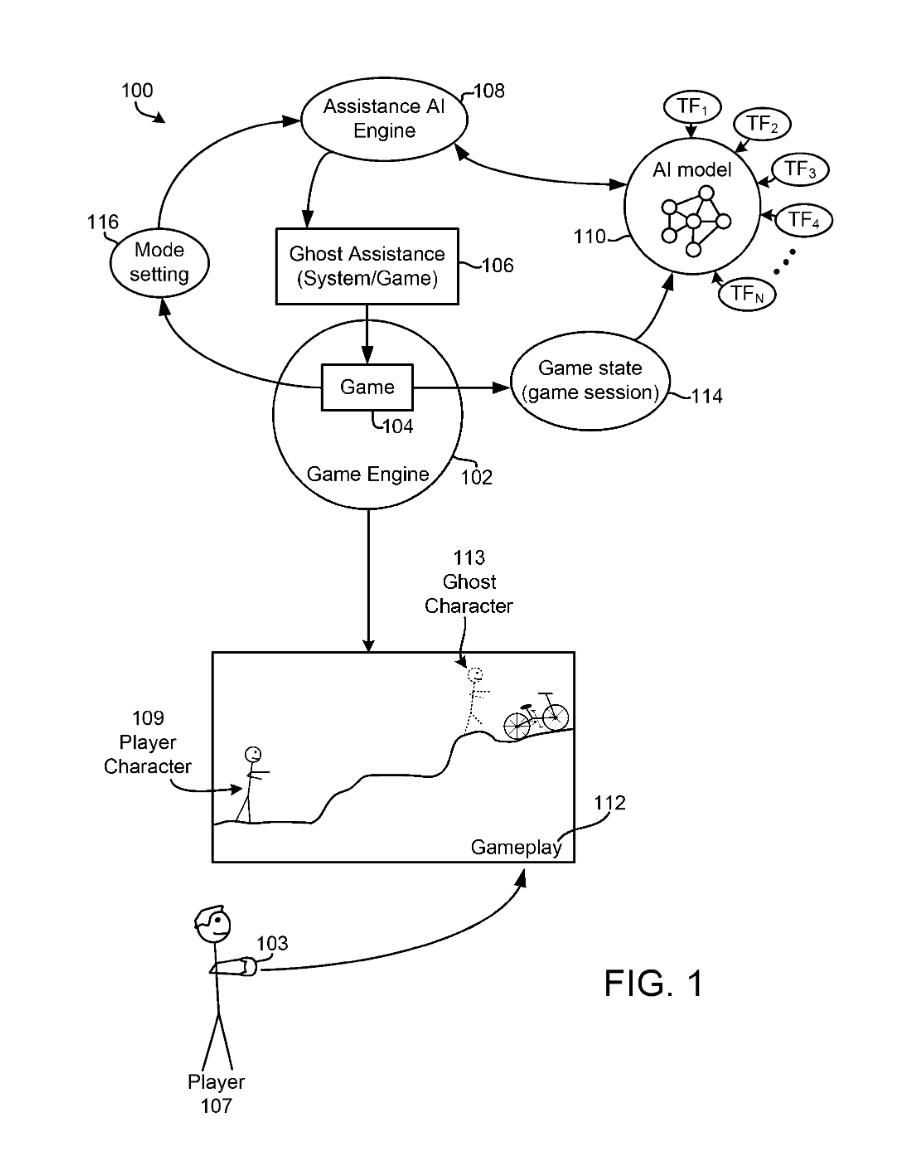
【卡关不再怕!PlayStation专利显示AI未来或可代玩家过关】近期PlayStation一项名为“AI Ghost Player”技术专利曝光。其主要内容是,当玩家在关卡或谜题中卡住时,可以召唤AI生成的“幽灵玩家”来协助通过。专利中提到了两种模式:
1、引导模式:AI提供辅助或提示
2、完成模式:AI直接代替玩家完成该段关卡
据悉AI将通过分析现有玩家的录像来学习,而非依赖开发者预录的操作。这一系统类似于PS5的 “Game Help” 功能,但更为先进和便捷。需要注意,专利内容仍属概念阶段,是否会在未来实际应用尚未可知。同时,该技术也可能引发争议,部分玩家或许并不喜欢过度的辅助和干预。不知大家对此如何看待呢?
预览
预览
预览
预览
预览
预览
扫码阅读
打开二柄APP浏览本文真玩家,都在这里


